Product Summary
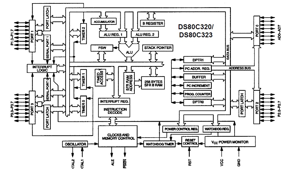
The DS80C320-MCG+ is a fast 80C31-compatible microcontroller. Wasted clock and memory cycles have been removed using a redesigned processor core. As a result, every 8051 instruction is executed between 1.5 and 3 times faster than the original for the same crystal speed. Typical applications of the DS80C320-MCG+ see a speed improvement of 2.5 times using the same code and same crystal. The DS80C320-MCG+ offers a maximum crystal rate of 33MHz, resulting in apparent execution speeds of 82.5MHz (approximately 2.5X).
Parametrics
DS80C320-MCG+ absolute maximum ratings: (1)Voltage Range on Any Pin Relative to Ground: -0.3V to (VCC + 0.5V); (2)Voltage Range on VCC Relative to Ground: -0.3V to +6.0V; (3)Operating Temperature Range: -40 to +85℃; (4)Storage Temperature Range: -55 to +125℃.
Features
DS80C320-MCG+ features: (1)80C32-Compatible: 8051 Pin and Instruction Set Compatible Four 8-Bit I/O Ports; Three 16-Bit Timer/Counters; 256 Bytes Scratchpad RAM; Addresses 64kB ROM and 64kB RAM; (2)High-Speed Architecture: 4 Clocks/Machine Cycle (8032 = 12); DC to 33MHz; Single-Cycle Instruction in 121ns; Uses Less Power for Equivalent Work; Dual Data Pointer; Optional Variable Length MOVX to Access Fast/Slow RAM/Peripherals; (3)High-Integration Controller Includes: Power-Fail Reset; (4)Programmable Watchdog Timer; (5)Early Warning Power-Fail Interrupt; (6)Two Full-Duplex Hardware Serial Ports; (7)3 Total Interrupt Sources with Six External; (8)Available in 40-Pin DIP, 44-Pin PLCC, and 44-Pin TQFP.
Diagrams

| Image | Part No | Mfg | Description | ![]() |
Pricing (USD) |
Quantity | ||||||||||||
|---|---|---|---|---|---|---|---|---|---|---|---|---|---|---|---|---|---|---|
![]() |
![]() DS80C320-MCG+ |
![]() Maxim Integrated Products |
![]() 8-bit Microcontrollers (MCU) High-Speed Low-Power |
![]() Data Sheet |
![]()
|
|
||||||||||||
| Image | Part No | Mfg | Description | ![]() |
Pricing (USD) |
Quantity | ||||||||||||
![]() |
![]() DS800 |
![]() Weller |
![]() Soldering Tools DESOLDERING STATION |
![]() Data Sheet |
![]() Negotiable |
|
||||||||||||
![]() |
![]() DS8005 |
![]() Other |
![]() |
![]() Data Sheet |
![]() Negotiable |
|
||||||||||||
![]() |
![]() DS8005-KIT# |
![]() Maxim Integrated Products |
![]() Interface Development Tools DS8005 Eval Kit |
![]() Data Sheet |
![]()
|
|
||||||||||||
![]() |
![]() DS8005-RJX+ |
![]() Maxim Integrated Products |
![]() Interface - Specialized DUAL SMARTCARD AFE |
![]() Data Sheet |
![]()
|
|
||||||||||||
![]() |
![]() DS8005-RRX+ |
![]() Maxim Integrated Products |
![]() Interface - Specialized Dual Smart Card AFE |
![]() Data Sheet |
![]()
|
|
||||||||||||
![]() |
![]() DS8007A |
![]() Other |
![]() |
![]() Data Sheet |
![]() Negotiable |
|
||||||||||||
(China (Mainland))











