Product Summary
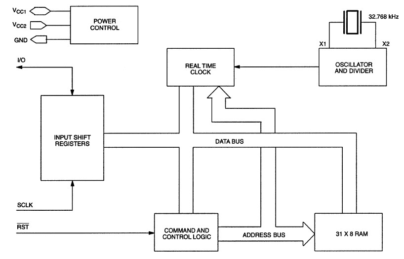
The DS1302Z is a Trickle Charge Timekeeping Chip. It contains a real time clock/calendar and 31 bytes of static RAM. The DS1302Z communicates with a microprocessor via a simple serial interface. The real time clock/calendar provides seconds, minutes, hours, day, date, month, and year information. The end of the month date is automatically adjusted for months with less than 31 days, including corrections for leap year. The clock operates in either the 24–hour or 12–hour format with an AM/PM indicator. The DS1302Z is designed to operate on very low power and retain data and clock information on less than 1 microwatt.
Parametrics
DS1302Z absolute maximum ratings: (1)Voltage on Any Pin Relative to Ground: –0.5V to +7.0V; (2)Operating Temperature: 0℃ to 70℃ or - 40℃ to +85℃ for industrial; (3)Storage Temperature: –55℃ to +125℃; (4)Soldering Temperature: 260℃ for 10 seconds (DIP).
Features
DS1302Z features: (1)Real time clock counts seconds, minutes hours, date of the month, month, day of the week, and year with leap year compensation valid up to 2100; (2)31 × 8 RAM for scratchpad data storage; (3)Serial I/O for minimum pin count; (4)2.0–5.5V full operation; (5)Uses less than 300 nA at 2.0V; (6)Single–byte or multiple–byte (burst mode) data transfer for read or write of clock or RAM data; (7)8–pin DIP or optional 8–pin SOICs for surface mount; (8)Simple 3–wire interface; (9)TTL–compatible (VCC = 5V); (10)Optional industrial temperature range: –40℃ to +85℃; (11)DS1202 compatible; (12)Recognized by Underwriters Laboratory.
Diagrams

| Image | Part No | Mfg | Description | ![]() |
Pricing (USD) |
Quantity | ||||||||||||
|---|---|---|---|---|---|---|---|---|---|---|---|---|---|---|---|---|---|---|
![]() |
![]() DS1302Z |
![]() Maxim Integrated Products |
![]() Real Time Clock Trickle-Charge Timekeeping Chip |
![]() Data Sheet |
![]()
|
|
||||||||||||
![]() |
![]() DS1302Z/T&R |
![]() Maxim Integrated Products |
![]() Real Time Clock Trickle-Charge Timekeeping Chip |
![]() Data Sheet |
![]()
|
|
||||||||||||
![]() |
![]() DS1302Z/T&R/C06 |
![]() Maxim Integrated Products |
![]() Real Time Clock Trickle-Charge Timekeeping Chip |
![]() Data Sheet |
![]()
|
|
||||||||||||
![]() |
![]() DS1302Z+ |
![]() Maxim Integrated Products |
![]() Real Time Clock Trickle-Charge Timekeeping Chip |
![]() Data Sheet |
![]()
|
|
||||||||||||
![]() |
![]() DS1302Z+T&R |
![]() Maxim Integrated Products |
![]() Real Time Clock Trickle-Charge Timekeeping Chip |
![]() Data Sheet |
![]()
|
|
||||||||||||
![]() |
![]() DS1302Z+T&R/C07 |
![]() Maxim Integrated Products |
![]() Real Time Clock Trickle-Charge Timekeeping Chip |
![]() Data Sheet |
![]() Negotiable |
|
||||||||||||
![]() |
![]() DS1302ZN |
![]() Maxim Integrated Products |
![]() Real Time Clock Trickle-Charge Timekeeping Chip |
![]() Data Sheet |
![]()
|
|
||||||||||||
![]() |
![]() DS1302ZN/T&R |
![]() Maxim Integrated Products |
![]() Real Time Clock Trickle-Charge Timekeeping Chip |
![]() Data Sheet |
![]()
|
|
||||||||||||
(China (Mainland))












