Product Summary
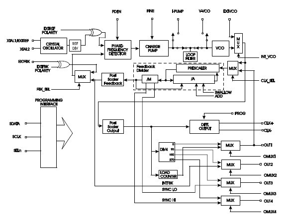
The ICS1522M is a very high performance monolithic phaselocked loop (PLL) frequency synthesizer. The ICS1522M provides a low-cost solution for high-end video clock generation where synchronization to an external video source is required. The ICS1522M has differential video clock outputs (CLK+ and CLK-) that are compatible with industry standard video DAC. Applications include: LCD Projector Systems, Multimedia video line locking, Genlock applications.
Parametrics
ICS1522M absolute maximum ratings: (1)VDD, VDDO (measured to VSS): 7.0V; (2)Digital Inputs VSS : -0.5 to VDD to 0.5V; (3)Digital Outputs VSS: -0.5 to VDDO to +0.5V; (4)Storage temperature: -65 to 150 ℃ DC Characteristics; (5)Junction temperature: 175℃; (6)Soldering temperature: 260℃.
Features
ICS1522M features: (1)Serial programming: Feedback and reference divisors, VCO gain, phase comparator gain, relative phase and test modes.; (2)Supports high-resolution graphics - Differential CLK out-puts to 230 MHz; (3)Eliminates need for multiple ECL output voltage controlled crystal oscillators and external components; (4)Fully-programmable synthesizer capability - not just a clock multiplier; (5)Line-locked clock generation capability; 15 - 100 kHz; (6)External feedback loop capability allows graphics system to be used as the feedback divisor with synchronous switchover to internal feedback; (7)Small footprint 24-pin SOIC; (8)Coarse and fine phase adjustment permits precise clocking in video recovery application.
Diagrams

![]() |
![]() ICS110A |
![]() Other |
![]() |
![]() Data Sheet |
![]() Negotiable |
|
||||||||||||||||||||||
![]() |
![]() ICS147 |
![]() Other |
![]() |
![]() Data Sheet |
![]() Negotiable |
|
||||||||||||||||||||||
![]() |
![]() ICS1493-17 |
![]() Other |
![]() |
![]() Data Sheet |
![]() Negotiable |
|
||||||||||||||||||||||
![]() |
![]() ICS1522 |
![]() Other |
![]() |
![]() Data Sheet |
![]() Negotiable |
|
||||||||||||||||||||||
![]() |
![]() ICS1523MLF |
![]() |
![]() IC SYNTHESIZER VIDEO CLK 24-SOIC |
![]() Data Sheet |
![]()
|
|
||||||||||||||||||||||
![]() |
![]() ICS1527G-110T |
![]() |
![]() IC VIDEO CLK SYNTHESIZER 16TSSOP |
![]() Data Sheet |
![]() Negotiable |
|
||||||||||||||||||||||
(China (Mainland))










